الاثنين، 6 فبراير 2017

98MB stability update rolling out to the Galaxy S7 edge in the UK

After a 15.31MB bug-fixing update was rolled out last week to Nougat-powered Galaxy S7 (SM-G930F) and Galaxy S7 edge (SM-G935F) in the UK, Samsung has started rolling out another update for the BTU variant. This time, the update — firmware version G935FXXU1DQB3 — has a file size of 98.11MB, and it includes more bug fixes as well as stability and performance improvements.

The Galaxy S7 and the Galaxy S7 edge started receiving the stable build of Android 7.0 update last month in the UK, which brought a lot of new features including improved Always On Display mode, improved quick setting toggles, Nougat multi-window support, Blue Light Filter, Samsung Pass, and more. You can check out our comprehensive list of Nougat features for the Galaxy S7 and S7 edge.

Samsung Galaxy S7 Edge SM-G935FXXU1DBQ3 Software Update



from SamMobile http://ift.tt/2jWKEz7
via IFTTT

Samsung halts the production of Artik 10 in favor of Artik 7

Samsung has announced on its website that it has halted the production of its Artik 10 single board computer in favor of the newer Artik 7. The company’s Raspberry Pi 3 competitor started shipping in May last year for $149, but interested tinkerers can still buy it from the remaining stock through Arrow and Digi-key.

The Artik 10 board has been scrapped in a move towards smaller and newer boards like the Artik 7. The Artik 10 offered a whole lot of connectivity options, including Wi-Fi b/g/n, Bluetooth, Zigbee, and it had better graphics than the Raspberry Pi 3. It even had more storage and RAM than the Pi 3. Its only downside was its 32-bit octa-core CPU, while the Pi 3 had a 64-bit CPU.

The newer Artik 7 is physically smaller than the Artik 10, and it has all the connectivity features of the latter. It also has 1080p graphics, 1GB RAM, and 4GB flash storage. It can run Linux and Tizen and works with various types of sensors and cameras. Apart from Artik Cloud, Samsung’s IoT-based mobile cloud platform, Artik boards also work with Amazon Echo.

The South Korean electronics giant currently sells some connected home appliances, but its grand plan is to make all its appliances IoT-ready in the future. Samsung hopes that tinkerers would use the Artik 7 to make drones, home monitoring cameras, robots, smart lighting, and more that work with the company’s IoT and connected appliances.



from SamMobile http://ift.tt/2ljqGf0
via IFTTT

SamMobile Daily Recap: February 6, 2017

We publish a lot of stories on a daily basis. Unfortunately, the bulk of the news breaks during our European hours of operation, which makes it difficult for our readers in the US (and other regions) to follow every post that goes live on SamMobile. But, we think we’ve come up with an ideal solution — a daily recap.

In the list below, you’ll find the stories we’ve published today. Chances are, you’re not going to be interested in all of them. To help you find what’s important to you, we’ve split them into their respective categories — so if you want to see the latest Nougat news, locate the Firmware Updates subheading.

Business

Samsung confirms it will disband corporate strategy office after corruption probe ends

Samsung’s first US appliance plant might be based in Alabama or South Carolina

Samsung withdraws from top business lobby following corruption scandal

Deals

Daily Deal: You can currently pick up a Samsung Wireless Charging Pad for 52% off

Firmware News

Galaxy A7 (2016) gets minor update in India for Samsung Pay

Galaxy S6 Nougat update manual reveals key details

Galaxy S7 edge Android Nougat update may not arrive in all regions this quarter

General

Check out Samsung’s awesome Super Bowl 51 commercial

Samsung files patent application for a device sporting a flexible screen with a hinge

Laptops

Samsung Chromebook Pro may get up to 16GB of RAM

Phones

Galaxy S8 Plus expected to outperform the Galaxy S8 this year

Samsung launches the Galaxy A3 (2017) and Galaxy A5 (2017) in the UK

South Korea reaches similar conclusion, says battery to blame for Note 7 fires

 



from SamMobile http://ift.tt/2lfYcBS
via IFTTT

Galaxy A7 (2016) gets minor update in India for Samsung Pay

Samsung will soon be launching its mobile payments service in India. We reported exclusively a couple of months back that Samsung Pay will be launched in India in the first half of this year. The company has now started teasing the service’s launch in the country and the latest Galaxy Note 5 update that it released in India brought the Samsung Pay app for this handset. A similar update has been released today for the Galaxy A7 (2016).

Samsung has released a minor update for the Galaxy A7 (2016) in India. Firmware version A710FXXU2BPJ7 is now being rolled out in the country. It doesn’t bring much in the way of major improvements and it doesn’t even include the latest security patch. What it does do is add the Samsung Pay app to the Galaxy A7 (2016).

Expect Samsung to roll out the app via this method for other compatible devices over the coming weeks. According to recent reports, Samsung is going to opt for American Express as its launch partner for Samsung Pay but the service will eventually support Visa and MasterCard as well since Samsung is talking about both card companies.

a7-2016-india-samsung-pay-1
a7-2016-india-samsung-pay-2
Thanks, Nick!



from SamMobile http://ift.tt/2kEXuSn
via IFTTT

Samsung Chromebook Pro may get up to 16GB of RAM

Samsung announced two new Chromebooks last month at the Consumer Electronics Show 2017. It said that the Chromebook Plus and Chromebook Pro have been developed in partnership with Google and that they are “Designed for Google Play” as both of them have the Play Store installed right out of the box and feature 4GB of RAM with 32GB of storage.

The Chromebook Plus features an ARM hexa-core processor whereas the Chromebook Pro has the more powerful Intel Core M3 chip. While Samsung is yet to confirm if the latter is going to be offered with even more RAM and storage, some references have been spotted in the Chromium Repositories which suggest that an 8GB variant of the Chromebook Pro could be a possibility.

The references in the Repositories suggest Samsung might offer 8GB and 16GB RAM with the Chromebook Pro at some point in the future in 4×2 and 8×2 setup. It may not make sense to ship 16GB of RAM with a Chromebook but Samsung is leaving the door open to it while many would encourage the company to at least move forward with the 8GB variant.

While the Chromebook Plus will be available this month, Samsung is yet to confirm when the Chromebook Pro is going to be released, but it did say at CES 2017 that it would be out later this spring. Pricing for the Chromebook Pro hasn’t been confirmed so far.



from SamMobile http://ift.tt/2lfd1Vy
via IFTTT

Samsung’s first US appliance plant might be based in Alabama or South Carolina

It has been reported multiple times over the past couple of weeks that Samsung Electronics is thinking about setting up a new plant in the United States for manufacturing home appliances. As protectionism rises in the United States, it’s possible that the company feels it will be better to manufacture appliances inside the country even though the production costs will be higher than they are in countries like Vietnam and China where the bulk of Samsung’s manufacturing takes place. At least this way Samsung won’t have to worry about tariff barriers and anti-dumping lawsuits.

As per a recent report, Samsung is going to decide where this plant is going to be based in the first half of this year, it’s searching for a factory site in Alabama or South Carolina. The company wants to find a site that’s already in use instead of having to build a new plant from scratch. Both states have reportedly offered Samsung investment incentives and it’s comparing their offerings as it continues to look for the best location.

President Donald Trump has already expressed his satisfaction at Samsung deciding to set up its first American production line for home appliances even though the company hasn’t confirmed anything about it so far.



from SamMobile http://ift.tt/2kiGkbY
via IFTTT

Daily Deal: You can currently pick up a Samsung Wireless Charging Pad for 52% off

While stock lasts, you can bag yourself Samsung’s latest Wireless Charging Pad for $23.79 (52% off). Don’t be fooled into thinking that it can only be used with Galaxy smartphones, though, as you couldn’t be more wrong. It’s actually compatible with any handset that utilizes Qi charging technology.

If you like the sound of Samsung’s Wireless Charging Pad and want to take advantage of this promotion, hit the Buy Now button below. However, we strongly advise you to hurry as Amazon only has a limited amount of inventory available for this specific deal, and — like usual — once it’s gone, it’s gone.

Buy Now



from SamMobile http://ift.tt/2kdb4J8
via IFTTT

Samsung launches the Galaxy A3 (2017) and Galaxy A5 (2017) in the UK

Samsung has launched its latest budget-friendly smartphones, the Galaxy A3 (2017) and Galaxy A5 (2017), in the United Kingdom. With regards to pricing and availability, the handsets are listed in three — Black Sky, Blue Mist and Gold Sand — of the four launch colors on the firm’s online store for £279 ($347) and £369 ($459), respectively. They’re also available through a handful of retail partners and select carriers in the region, including Vodafone. The Peach Cloud model, on the other hand, can only be picked up from Carphone Warehouse.

For those in need of a refresher, the Galaxy A3 (2017) is a sturdy low-to-mid-range device, which sports a 4.7-inch Super AMOLED panel with a resolution of 720 x 1280 pixels, a 1.6GHz Exynos 7870 octa-core processor, a Mali-T830 GPU, 2GB of RAM, an 8MP selfie shooter, a 13MP rear-facing camera and a 2,350mAh non-removable battery. Like its larger brethren, it’s IP68 certified (dust proof and water resistant for up to 1.5 meters for 30 minutes) and ships with compatibility for Samsung Pay.

In terms of design, the Galaxy A5 (2017) is almost identical to the Galaxy A3 (2017). However, things are a little different under the hood, where you’ll find a 5.2-inch Full HD screen, a 1.9GHz Exynos 7880 Octa CPU, 3GB of RAM, 32GB of expandable internal storage, a 16MP front- and rear-facing camera and a 3,000mAh non-removable battery. As you’ve probably already noticed, this specific handset is geared more towards the mid-range market, where customers are looking for a larger displays and beefier internals.

This bodes the question (directed to our UK readers): Are you planning on picking up either the Galaxy A3 (2017) or Galaxy A5 (2017)? If so, which one? Be sure to let us know in the comments section below.



from SamMobile http://ift.tt/2jSt2o2
via IFTTT

Galaxy S6 Nougat update manual reveals key details

Samsung has already released the Android 7.0 Nougat update for the Galaxy S7 and the Galaxy S7 edge. We told you a few weeks back that it’s now preparing said update for the Galaxy S6 and the Galaxy S6 edge. The Galaxy S6 Nougat update manual has appeared online and it reveals some key details about the update.

The screenshots in this manual show that Nougat on the Galaxy S6 is going to look more or less the same like it does on the Galaxy S7. Users will get the Grace UX that was introduced with the Galaxy Note 7 first last year along with all of the features that are part and parcel of Nougat. A new camera interface that’s gesture-friendly is included and so is the new Pop-up View mode and a redesigned status bar with stackable notifications.

The Galaxy S6 Nougat update manual also reveals that some features will remain exclusive to the Galaxy S7 and the Galaxy S7 edge such as the motion panorama feature called Wide self-portrait with motion, Video Enhancer, Performance Mode, camera modes like Food, Selfie flash, and Hyperlapse as well as the Always On Display.

Samsung is yet to confirm precisely when it’s going to release Android 7.0 Nougat for the Galaxy S6 and the Galaxy S6 edge.

galaxy-s6-nougat-manual-1
galaxy-s6-nougat-manual-2



from SamMobile http://ift.tt/2jSC6Ju
via IFTTT

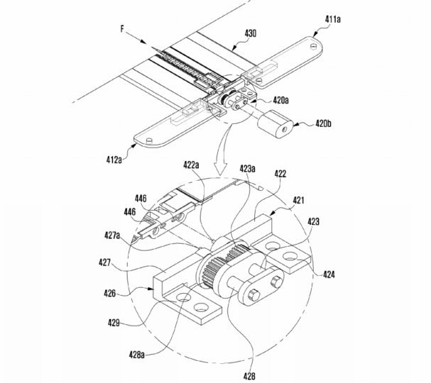
Samsung files patent application for a device sporting a flexible screen with a hinge

Samsung has long been working on multiple designs for smartphones with flexible and foldable displays, and the company has filed various patents regarding such devices. However, the latest patent filed by the South Korean smartphone giant is a bit different.

The patent application, which was filed with the US PTO by Samsung on June 9, 2015, under the patent number US 9,557,771 B2, describes a device with a foldable display supported by a mechanical hinge in the middle. As per the patent application, it appears that the screen folds inwards.

Samsung and LG are both working on smartphones, tablets, and hybrid devices with foldable displays. Samsung seems to be ahead in the race as it is being expected that the company will unveil its first such device sometime in the third quarter of 2017.

Samsung Patent Application For Device With Flexible Display And Hinge - 02

Samsung Patent Application For Device With Flexible Display And Hinge - 03

Samsung Patent Application For Device With Flexible Display And Hinge - 08

Samsung Patent Application For Device With Flexible Display And Hinge - 01

 

Samsung Patent Application For Device With Flexible Display And Hinge - 07

Samsung Patent Application For Device With Flexible Display And Hinge - 06 Samsung Patent Application For Device With Flexible Display And Hinge - 05



from SamMobile http://ift.tt/2ky3olH
via IFTTT

Samsung confirms it will disband corporate strategy office after corruption probe ends

The Samsung Group has confirmed that it’s going to disband its corporate strategy office after the special prosecution’s probe into the country’s influence-peddling scandal ends. Samsung’s corporate strategy office is alleged to have played a role in the scandal and the conglomerate has now finally provided a timeline for shutting it down.

The South Korean special prosecutor’s office continues its investigation into the scandal which had already led to the impeachment of the country’s president. Samsung heir Lee Jae-yong and head of the company’s corporate strategy office Choi Gee-sung have been classified as suspects in the bribery investigation. Samsung allegedly paid money to organizations run by a friend of the president for influence. The company’s corporate strategy office has come under much scrutiny in the past as well and it’s often viewed as a key organ through which the founding Lee family can exert its control over the conglomerate’s affiliates.

Samsung said in a brief statement that preparations are underway to shut down the office, adding that “action will be taken following the conclusion of the special prosecutor’s investigation.” The company hasn’t said how it’s going to handle tasks that are currently under the strategy office’s domain. The special prosecutor’s investigation is due to conclude by February 28 but a 30-day extension might be sought if more work needs to be done.



from SamMobile http://ift.tt/2l9Y632
via IFTTT

Check out Samsung’s awesome Super Bowl 51 commercial

Yesterday, the New England Patriots recovered from a record deficit and beat the Atlanta Falcons in Super Bowl 51, earning the team its fifth Super Bowl title. As you’d expect, the largest championship game of the NFL season gains a lot of attention from loyal fans (over 167 million people tuned in last year) — and naturally brands are looking to run enticing commercials with the hope of capitalizing on the humongous viewer base.

Samsung’s no different. This year, the firm chose its “Feel The Raid” advert, which first aired back on Sunday, January 22, to be shown during one of the many breaks. We have to say, it’s not a bad choice. The engaging commercial showcases the exclusive 24: Legacy virtual reality prequel content, The Raid, being viewed on a Gear VR powered by the firm’s flagship smartphone, the Galaxy S7 edge.

Check it out below:



from SamMobile http://ift.tt/2leonZK
via IFTTT

Galaxy S7 edge Android Nougat update may not arrive in all regions this quarter

Samsung officially started rolling out the Android Nougat update for the Galaxy S7 and the Galaxy S7 edge a couple of weeks back. The update has gradually been released in several markets across the globe. It’s expected that Samsung will be able to cover all regions by the end of Q1, 2017. However, that might not be the case, as far as the international version of the flagship is concerned.

XDA senior member liquidguru had an online chat with Samsung Support about when he could expect the Nougat update on his international Galaxy S7 edge that he purchased in Singapore. The support rep told him that Nougat will be released in that region at some point between April and June 2017. This may very well be the case for the international Galaxy S7 as well.

It is pertinent to mention here that Samsung support reps aren’t always right about the timeframes that they give out so the update may arrive sooner than this or it may possibly be released even later than the timeframe provided.

samsung-s7-edge-nougat-international



from SamMobile http://ift.tt/2kE2yGA
via IFTTT

جميع الحقوق محفوظة لمدونة الغريب 2013