A lot of work and mental effort went into developing the Galaxy Fold series, given that there was no precedent of a foldable device hitting the consumer market. Likewise, a lot of Galaxy Z Fold design ideas have been patented by Samsung, yet they’ll probably never see the light of day in the form of a consumer-grade product. This could be the case with a recently-discovered patent that describes a series of touch-based buttons for the Galaxy Z Fold form factor.
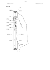
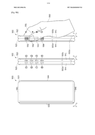
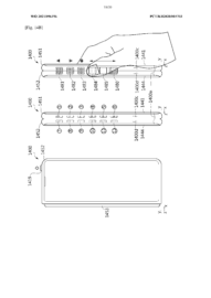
The patent describes what looks like a Galaxy Z Fold 2 equipped with touch-sensitive, button-shaped zones on the side edges. These buttons can act as power and volume controls, but of course, they could technically be assigned to other functions, much like a physical button could.
Aside from the abstract, no in-depth technical details pertaining to this patent were revealed, but we assume that these touch-sensitive buttons would also be pressure-sensitive, otherwise they could have a negative impact on the user experience due to accidental touches.
If it ain’t broke, don’t fix it
The idea of touch / sensitive virtual side buttons isn’t new. The HTC U11 had pressure-sensitive edges, and Samsung even patented a similar pressure-sensitive edge technology for the standard candy bar form factor all the way back in 2018.
So, does this newer patent indicate that Samsung will finally implement this technology with the release of the Galaxy Z Fold 3, years after it was taken into consideration for the Galaxy S series and later abandoned? That’s highly unlikely, but it’s interesting to know that Samsung has at least thought about adding this technology to its premium foldable.
There’s a reason why this touch / pressure-based solution isn’t very popular though. It’s simply not as accurate as a clicky physical side button, and it doesn’t provide much in the way of customization compared to a regular button. It’s a gimmick, and Samsung’s new patent doesn’t seem to go to any lengths to make it less gimmicky and more practical. We’d be very surprised if the Galaxy Z Fold 3 had this button design, but time will tell.
The post Galaxy Z Fold design with touch-sensitive side buttons shows up in patent application appeared first on SamMobile.
from SamMobile https://ift.tt/3ysFOMK
via IFTTT




ليست هناك تعليقات:
إرسال تعليق